阿里集团官方账号放出了一幅极具悬念的海报。画面很简单:一位酒窝特征极为明显的女性形象,配文只有一句话——“4月22日见,hello world”。这种“犹抱琵琶半遮面”的宣发手法,在阿里过往的产品发布中并不常见,迅速引发了业内外的广泛猜测。早在今年3月10日,阿里巴巴就已经悄然提交了 6项“千问小酒窝”商标的注册申请。将商标申请时间线与此次海报发布结合起来看,阿里显然在下一盘有备而来的棋。
商标布局覆盖“软硬”两面,机器人成关键词
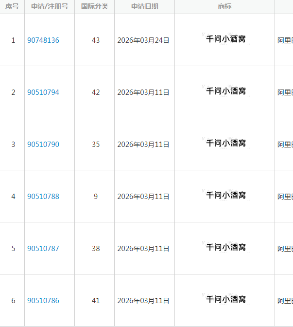
此次“千问小酒窝”的商标布局,横跨了4个关键的国际分类:第9类(科学仪器)、第35类(广告销售)、第38类(通讯服务)以及第42类(设计研究)。具体来看,其指定的商品服务项目极具针对性。除了常规的“人工智能即服务(AIaaS)”和“模拟对话用聊天机器人软件”外,还赫然出现了“科学研究用具有人工智能的人形机器人”、“辅助人类和供人娱乐用具有交流和学习功能的类人机器人”等描述。这意味着,“千问小酒窝”绝不仅仅是一个软件层面的数字人,它很可能是一个软硬结合的产物。从商标布局的“带货”属性来看,第35类(广告销售)的注册,也暗示了阿里对于该IP未来商业化变现(如虚拟代言、品牌联名)的未雨绸缪。
从“千问”到“小酒窝”:一次有温度的IP具身化
过去两年,大众对于阿里“千问”的认知一直停留在对话框和大模型API接口上。其原有的圆形螺旋Logo虽然象征着技术的完整与无限,但在C端用户的感知中,始终缺乏一点“人味儿”。而“小酒窝”这一形象的推出,很可能就是为了填补这一空白。从商标命名来看,“千问”奠定了品牌归属,“小酒窝”则赋予了人格化特征。这种策略在行业内并不陌生——字节跳动的“豆包”拥有拟人化的数字人形象,腾讯“元宝”也在近期将Logo修改得更具灵动性。相比之下,阿里此次直接通过商标注册来锁定一个具象的“酒窝少女”形象,在IP资产的保护力度上显然更胜一筹。
产品未动,商标先行是巨头的“标准动作”
在企业尤其是科技巨头的竞争中,商标不仅是法律的防御墙,更是进攻的冲锋号。在“4月22日”这个发布日期到来之前,提前一个多月完成商标的“卡位”,既防止了发布前夕可能出现的抢注风险,也为产品上市当天的宣发扫清了障碍。从“阿里悟空”到“千问小酒窝”,我们可以看到阿里系在AI时代的品牌命名逻辑正在发生变化:从强调技术感(悟空/神通),转向强调亲和力(酒窝/情感) 。这是AI应用从“技术炫技”走向“普惠服务”的一个细微注脚。虽然目前这6枚商标的状态仍显示为“注册申请中”,审查周期通常还需要一段时间,但只要阿里率先占据了申请日的“优先权”,这层法律保护伞就已经撑开。
商标超市网是中细软旗下闲置商标交易领域专业网站,拥有超300万件的闲置商标资源数据库。中华商标超市网是专业提供商标全流程(商标策划、战略、评估、交易、融资等)解决方案的服务机构,现每年为国内外企业及相关单位提供超过上万件商标解决方案。
【温馨提示】文中部分图片来源网络,版权归属原作者,若有不妥,请联系告知修改或删除,谢谢。
